整整11年,金三角已经没有毒贩敢杀中国人了
整整11年,金三角已经没有毒贩敢杀中国人了
金三角是中国周边地区最混乱的敌人,其混乱程度在世界上名列前茅。
无数毒贩盘踞在这一地区,与当地政府盘根错节,至今仍是世界上最大的毒品产地之一。
在金三角毒贩的巅峰时期,他们的武装力量甚至可以正面硬刚政府军。
在这样的地方,暴力当然无处不在,没有毒贩不敢做的事情。
但在过去的11年里,没有一个金三角毒贩敢杀中国人。
在金三角,每个人都敢杀毒贩,但他们就是不敢杀中国人,因为一旦曝光,后果太可怕了。
但八年前,情况并非如此,当时的金三角毒贩,却真的没有把中国人当人看。
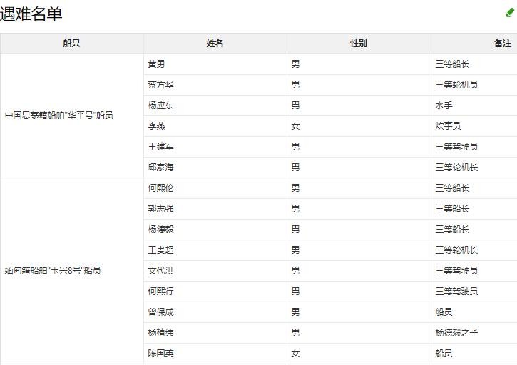
湄公河血案发生于2011年10月5日,13名中国人被杀。
湄公河是东南亚的一条水道,但很久以前,它非常狭窄,遍布暗礁,不适合船舶航行。
2003年,中国、缅甸、老挝和泰国签署了零关税条约。随后,中国政府出资扩大湄公河,摧毁了许多暗礁,使湄公河成为东南亚国家的黄金水道,航运量激增。
泰国军方于2011年10月5日接到举报电话,称湄公河上有两艘船,上面有大量毒品。
下午1点半,泰国军方发现了悬挂中国、缅甸、老挝和泰国国旗的可疑船只「华平号」和「玉兴 8 号」运输船。

警方示意货船停船检查,但两艘货船没有停下来,而是加速了逃跑,于是军方开火,与船上五名武装人员交火,杀死其中一人,其余逃跑。
然后,泰国士兵登上船,在船上发现了一具尸体、一把冲锋枪和价值约2000万元的92万种毒品。
随后,泰国军方宣布破获一起重大贩毒案件,嫌疑人是中国船员。在军事通知中,中国船只和中国武装贩毒分子被明确:
我们收到线人的报告,中国船只武装贩毒,我们军队赶到船上查获,被武装分子袭击,我们被迫反击,杀死中国武装贩毒分子,缴获 92 万粒毒品。
中国武装分子在贩毒,还运了92万粒毒品?
没有证据,我们真的很难说什么。
10月7日,事件发生两天后,泰国清盛码头发现两具漂浮的尸体,第一具被手铐,腹部还中了两枪,另一个人的尸体眼睛和嘴被胶带封住,颈部致命刀伤,胸部和腹部的任意伤口都很致命,两人被证实为“华平”船长黄勇和“玉兴8”船长杨德毅的儿子。
10月8日,泰国警方从湄公河上捕获了9具中国船员的尸体。被捕获的尸体被手铐上,头上覆盖着胶带,背上有无数的枪眼。
两艘中国货船共有13名船员,突然发现了11具尸体,全部被反铐枪杀。毫无疑问,中国船员是受害者,不可能是毒贩。
死者家属悲愤莫名,做点小生意,赚点辛苦钱,却飞来横祸,惨死异乡,还被污蔑为贩毒分子。

他们的死是怎么回事,这是13条命。
10月10日,泰国军方和警方表示,劫杀案的凶手来自缅甸佤邦的诺坎贩毒集团。动机可能是要求保护费,也可能是劫持船只运输毒品。被中国船员拒绝后,惨遭横祸。
推出理由是两艘中国船的袭击情况与诺坎贩毒集团的犯罪方法非常相似。
出乎意料的是,仅仅几个小时后,佤邦就以光速击中了泰国。他们找到了一名目击者,证实泰国军方人员在登上船后枪击了5名船员,并将至少是6具尸体推入河中。
佤邦表示,建议中国成立调查组,对当时在涉案水域执勤的泰国警察进行全面调查。佤邦坦率地说,愿意接受同样的调查。

这个通知一出来,世界就震惊了。
泰国军方杀人了吗?
他们为什么要杀死中国人,为什么要杀死他们的自己的人?
根据国际法,中国船舶和航天器的管辖权属于中国。
在中国船上杀害中国人是一种严重的挑衅。
10月13日,中国外交部召开泰国、老挝和缅甸驻华使节,提出紧急谈判,并安排遇难船员家属到泰国索赔和认领亲属遗体。
10月22日,以中国为主导的联合调查组得出初步的技术调查结论,以铁证据清除了中国船员是贩毒的谣言。
1. 从所有毒品的外包装上提取的所有指纹和DNA信息都没有发现13名船员的痕迹,这表明13名中国船员从未接触过毒品。2. 船上发现的毒贩冲锋枪和散落在周围的子弹,从上面提取的所有指纹和DNA,都没有13名中国船员的痕迹,这表明13名中国船员从未接触过武器。3. 调查组对尸体进行了弹痕测试,证实死者所有的枪伤都是从上到下射入体内的,即所有的死者都跪下,然后被近距离射杀。
以上三个证据足以证明中国船员永远不可能是毒贩。
花这么多时间提取这么多证据是为了先占领正义,用铁的事实,而不是猜测案件的真相,随意捏造是非。
泰国在这些证据面前无话可说。
10月28日,泰国政府通知中国公安代表团,称已与泰国军方讨论了一下,泰国军方将把9名开枪的士兵送到警方自首。泰国警方将以故意杀人和抛尸罪起诉这9名士兵。
中国调查组非常高兴,似乎很快就会水落石出。
但出乎意料的是,这9名士兵只记录了20分钟的口供,然后回去了。
10月30日,泰国陆军发言人聊森上校宣布,泰国9名士兵按职责行事,执行禁毒任务,绝对不杀人。
既然没有杀人,泰国士兵为什么要扔尸体?
泰国军方拒绝解释这一点,只是说军事法院将在后续调查中明确一切,说了一些以后调查清楚后必须惩罚等敷衍的话。
泰国是分裂的,军队和泰国皇室是一边的,政府是一边的。当时,泰国政府总理英拉非常亲近中国,但泰国军方非常反对英拉。
因此,泰国军方拒绝将9名士兵移交中国调查组审讯,也没有解释事情的真相。
到目前为止,中国警方只能依靠自己。
2011年11月3日,中国以禁毒局局长刘跃进为首,抽调200多名精兵强将,组成专案组全力破案。
理论上,泰国军方不应该杀人,因为他们根本没有杀人的利益动机。这样做会给泰国军方带来很大的麻烦,没有任何好处。
虽然理论上凶手可能不是他们,但一定有人是凶手。谁来做这件事?
虽然泰国士兵可能没有杀人,但他们进行了抛尸,所以他们一定知道真相。
但泰国军方不愿交出知情人,这件事只能一头雾水。
然而,经过仔细分析,这件事涉及到价值2000万元的毒品,至少有5名武装分子,这表明另一边的内部人士必须是毒贩和大型毒贩,他们很可能是杀人犯。
因此,中国专案组决定从毒贩方面进行调查。
嫌疑人一定是金三角地区的一个贩毒集团,但究竟是谁?
很快,中国边境的缉毒警察收到了一项任务,严格审查在中国发现的所有东南亚外国贩毒嫌疑人,询问与湄公河血案有关的一切。
2011年11月底,案件取得突破。一名在中国贩毒被捕的缅甸犯罪嫌疑人解释说,他的上级是糯康组织的一个小头目,名叫岩相宰。
岩相宰很快被抓获,先后解释了糯康组织的组成人员和组织分工。
在解释的过程中,岩相宰提到,“10.5”悲剧发生后,他曾听老板依莱(糯康组织3号人物)说“10.5”案是糯康组织干的。
这句话很快被缉毒警察传达给专案组,引起了专案组的重视。
糯康组织,有重大嫌疑。
专案组立即组织精兵强将逮捕依莱。
2011年12月,糯康集团骨干分子依莱被捕,承认湄公河血案是糯康组织与泰国个别非法士兵勾结的行为。
根据伊莱的供述,泰国士兵要求糯康获得一些毒品和替罪羊供自己查获,以便立功晋升。作为回报,糯康集团未来可以在清盛码头自由贩毒。
这一供述符合客观事实和泰国士兵的奇怪表现,也可以解释犯罪的动机。
唯一无法解释的是为什么要杀人,因为没有必要杀人才能找到替罪羊。
但毫无疑问,这起血案很有可能是糯康干。
杀死糯康可以为13名中国船员报仇。
用中国军队的武力,杀糯康很简单,无论明暗杀都很简单。
凭借中国警方的实力,偷偷抓糯康也很简单。依莱,糯康的3号人物,只用了十几天就抓到了。
抓人并不难,偷运回国也不难。
但既然糯康已经基本确定为凶手,那么这件事就不是简单的报仇和抓人。
我们必须为金三角的毒贩制定规则,让他们知道谁不能惹他们。
以如此高的成本调查此案,不仅仅是为了报仇,而是为了在未来彻底保护中国公民。
因此,中国专案组决定,缅甸和老挝的军警主要逮捕糯康,中国警方只派出少数人的配合行动。
我能抓,但我不抓。我只是让金三角的政府力量光明正大地抓住它。
泰国军警为什么不参与?
因为所有的证据都表明,泰国军方与糯康勾结的概率很大,虽然只是个别人员,但也是军方的耻辱。
屠杀这么多中国人,大概率不是泰国军方的初衷,因为立功不是这样的立法,很可能是糯康自己的主张。
在中国拍摄的电影《湄公河行动》中,话里话外都暗示泰军是糯康背后的大BOSS。

电影里有一个镜头。事件发生后,传话人宋哥说BOSS很生气,而糯康兴奋地说,他已经完成了BOSS解释他的所有事情,所以不管怎么完成。

这个台词的设置很有意思。

如果泰国军警参与逮捕,就不会留下糯康活口,也不会让糯康活到中国。
这个情节也出现在电影中。事件曝光后,大老板抢在中国专案组前面,派出戴着面具的精锐特种部队杀死糯康,绝不让糯康落在中国人手中。
根据专案组的判断,只要糯康的头脑没有问题,他就不敢躲在泰国领土上,所以他只需要缅甸和老挝的军警来逮捕他。
但是老挝和缅甸的军警实力真的很差。
他的人各种通风信,各种极限跑路。从2011年12月6日第一波抓捕开始,抓糯康用了5个月。
就像专案组预定的一样,糯康改变了许多藏身地,一直在缅甸和老挝打转,不敢贸然逃去泰国。
2012年4月25日,专案组接到线报,得知糯康即将从缅甸潜入老挝波乔省孟莫县,中方并再次通知老挝军警逮捕。
下午,糯康刚从老挝波桥省码头下船,就被警方抓获,当场抓获糯康等3人。
后来,糯康犯罪集团的其他主要成员也陆续被捕。
2012年5月10日上午11点,老挝警方和中国举行了移交仪式,正式将糯康移交给中国。

在北京机场,糯康下飞机后,中国公安机关在机场向糯康宣读了逮捕令,糯康签字。
就这样,湄公河血案的主犯被归案。

为什么要选择中国船作为栽赃嫁祸的替罪羊,这与糯康组织的个人恩怨有关。
在老挝,有一个叫赵伟的人,开了一家叫金木棉集团的公司,非常神秘,只知道他来自东北,早年做木材生意,2007年与老挝政府签订协议,在当地有了106平方公里,建设“金三角经济特区”,发展农贸观光、酒店赌场等一站式服务。
在106平方的土地上,赵伟开了一家宏伟的赌场,被称为金三角地区最大、最豪华的赌场,聚集了许多客人,影响了糯康赌场的业务。
此外,金木棉公司还成立了一家运输公司,包括几艘货船和三艘客船。货船主要为公司运输景观石等建筑材料,客船主要运输游客和赌客。
糯康曾派人到金木棉公司收取保护费,但公司负责人阿明没有理会。
因此,糯康决定给金木棉公司一点颜色。
2011年4月2日,金木棉公司货船“渝西3号”和客船“金木棉3号”被糯康组织绑架。
金木棉公司的“正鑫1号”和“中油1号”两艘货船于2011年4月3日被糯康组织绑架。
糯康组织将人质手铐绑在岸边,用布蒙住脸,给脸浇水,迫使他们承认阿明运输毒品,并用相机记录。
随后,糯康通知阿明,他们以3000万泰铢的价格支付赎金,最终谈到了约489万人民币的2500万泰铢。
2011年4月6日,阿明从金木棉公司财务室取出2500万泰铢,换回人质。
但金木棉公司并不相信。
2011年9月22日,在阿明的联系和运营下,缅甸和老挝军警对位于“分散岛”的糯康大本营进行了大规模清理,彻底摧毁了糯康组织。
是一艘名为“载信号”的中国商船,载着老挝军警和缅甸军警前来攻击糯康大本营,上面挂着中国国旗。
糯康一直想出这种恶气,泰国军方还没有找到机会就找到了。
2011年10月3日,诺康组织的伊莱会见了罗纳尔多和泰国军方的人。双方确定了合作条件。诺康负责提供一批毒品和替罪羊,以帮助一些泰国军方晋升,而泰国军方未来将为诺康提供庇护。
糯康毫不犹豫地直接选择了中国船作为替罪羊。
10月4日,糯康组织踩了一次点,确定了第二天一艘中国船会经过的位置。
糯康于10月5日上午5点下达劫船命令。
大约7点,中国船只被截停,因为另一艘中国船只碰巧经过,所以两艘船被截停。
截止日期结束后,船只赶往泰军指定地点,途中糯康发出两项矛盾命令。
第一个命令是要求下属不要杀人,朝天鸣枪,然后把人交给泰军。
第二个命令要求手下留三四个活口,其他的都杀了。
这两个命令让他们的下属感到困惑,所以当他们到达现场时,他们询问了三号人物依莱。依莱依稀记得诺康似乎说了所有的杀戮,所以他说:“留下什么,杀死一个也是杀戮,杀死一切。”。
因此,卡西扎等三人杀死了13名中国船员,然后跳船逃跑。
这种行为,完全不合理,非常不合理。
金三角有很多大毒枭,但所有著名的毒枭都有一个特点。他们不吸毒,也不允许他们的手下吸毒,无论是罗星汉还是昆沙。
但是糯康不一样。他不仅自己吸毒,还要求所有的手下都吸毒,把毒品当成控制手下的手段。
只是栽赃嫁祸,完全没必要杀人。
糯康团队的人要么吸毒,要么他们根本不关注中国人的生活。他们只是想如何减少目击者带来的麻烦。他们从来没有考虑过杀人的后果。因此,杀人是非常随意的,没有仔细的计划和目的。
也许后者是一个重要的原因。
糯康被捕后,他配合中国警方拍照,签字。
在法庭上,糯康双手合十,向受害者家属道歉,希望得到理解,并愿意提供赔偿。

从图片上看,嘴角甚至有微笑。
糯康的心理有多强大,在犯下如此滔天的罪行后才能如此平静。
2012年11月6日,在昆明市中级人民法院一审宣判,“湄公河悲剧”主犯糯康、桑康·乍萨、伊莱、扎西卡、扎波、扎拖波等6名被告。
糯康,主犯,被判死刑。
桑康、依莱、扎西卡被判死刑。
扎波被判缓期死刑,扎拖波被判有期徒刑8年,因为他只抢劫了船只,手上没有沾血。

这一次,糯康并不平静。
装死,装大小便失禁,装疯卖傻,糯康丑态百出,千方百计逃避死刑。
后来,糯康说,他手里有1000多万元人民币,愿意全部拿出来赔偿死者家属,只想逃一死。
2012年12月26日,云南省高级法院作出二审判决,维持原判。
糯康、桑康·乍萨、依莱、扎西卡于2013年3月1日在云南昆明被判处死刑。
死刑前两天,记者独家采访了糯康。
糯康说,他总是认为任何罪行都可以用金钱赎罪,包括死罪。但直到这一天,他才发现中国法律和金三角的生存法则是两回事。
在金三角国家,贩毒不会被判处死刑,杀人也不会被判处死刑。即使被警察抓住,钱最多也能早点出来。
金三角那么多贩毒头目,杀人如麻,没有一个是因为贩毒杀人被警方处以极刑,基本上都死于内讧和交火。
糯康被中国警方逮捕是因为他在这个规则下生活了几十年,因为他不认为自己会死。
正是因为不觉得自己会死,糯康才疯狂下令杀人。
金三角毒贩因贩毒被警方公开审判,最终判处极刑。真的没有。糯康是第一个。
只是因为他袭击了中国人。
湄公河悲剧发生后,中国费了老板的劲,终于公开抓住了糯康,最终依法审判。
这样做的目的是向金三角大大小小的毒贩展示,让他们知道攻击中国人的结局和代价。
此外,悲剧发生后,中国还主导了中国公安对湄公河武装巡逻的“缅泰湄公河联合执法”。
湄公河虽然不是中国人,但上面有中国公安的船和枪。
武装巡逻的目的只有一个,那就是保护中国商船,保护中国人,震慑所有心怀不轨的非法分子。

逮捕糯康是中国警方第一次海外执法。目前,只有美国人在全球范围内这样做。它的政治意义远不像枪杀几只毒枭那么简单。
效果也很显著。
糯康被处死后,整整11年过去了,金三角一直有冲突,毒贩几乎每天都在杀人。
但没有毒贩敢无缘无故地激怒中国人,因为这是不值得的。
-
- 57岁富婆花9000雇佣35岁男保姆,男保姆:她的要求太高了 (2)
-
2025-10-30 19:57:27
-
- 启蒙唐诗:幼儿园必背30首经典,引领孩子走进古风雅韵的世界!
-
2025-10-30 19:55:12
-
- 2018年,司法部特批一囚犯千里转监回四川,让他挽救自己儿子性命
-
2025-10-30 19:52:57
-
- 高房价时代的心跳漏了一拍,山东沂南县南村社区免费分房16年
-
2025-10-30 06:20:55
-
- 日本陆上自卫队的前世今生及现役装备
-
2025-10-30 06:18:40
-
- 新四军中走出来的将帅(412)——赖毅中将
-
2025-10-30 06:16:25
-
- 在美消失的北大女学生章莹颖:不负责任的美国政府至今未给说法
-
2025-10-30 06:14:10
-
- 父亲节到了:最怕是人到中年,才听懂这10首歌
-
2025-10-30 06:11:55
-
- “药娘”们活得太惨了
-
2025-10-30 06:09:40
-
- 仅162CM的李小璐,上围达到88,在《男人装》中可谓是大火了一把
-
2025-10-30 06:07:25
-
- 6本女追男放弃后男主倒追结局HE小说:《深情眼》《传闻》等
-
2025-10-30 06:05:10
-
- 日暮酒醒人已远,满天风雨下西楼 20句情景交融诗词,触动心弦
-
2025-10-30 06:02:55
-
- 探秘夏朝之前的传说时代
-
2025-10-30 06:00:40
-
- 吕蒙白衣渡江袭取荆州,对三国局势产生了怎样的影响?
-
2025-10-30 05:58:25
-
- 他是沙皇的国师和大脑,却一步步埋葬了沙俄
-
2025-10-30 05:56:10
-
- 隋唐演义:贾柳楼结拜的四十六友武艺档次排名
-
2025-10-30 05:53:55
-
- 乾隆年间的风云大事:疆域、民族与外交的碰撞
-
2025-10-30 05:51:40
-
- 8部核灾难片核辐射片单:35年前的切尔诺贝利,10年前的福岛…
-
2025-10-30 05:49:25
-
- 略谈澳大利亚的选举制度
-
2025-10-30 05:47:10
-
- 歌唱家胡月:撮合公婆复婚,接连送走父亲和公公
-
2025-10-30 05:44:55



日本男演员影响力榜单TOP10出炉!第一名果然是他……
李天一案另外四人真实背景(李天一案始末及全程细节)
妻子常年在外,丈夫与岳母日久生情,两人正上床时妻子推门而入
江湖故事-聂磊 杜城 常胜Vs内蒙古云家《2》
“当官当副,不当常务”,是什么意思?常务副职和一般副职区别
日本天皇一年能挣多少钱?人民币1万都不到,却为何过得如此舒服
袁心玥私密生活大曝光?袁心玥男友是谁?袁心玥和妈妈的小秘密?
扩散丨银川河东机场大巴发车时间有调整!最新时刻表在这里!
日本酒清酒的度数是多少?
96式主战坦克