毕托管的使用方法
2026-01-03 20:50 来源:网络 点击:
毕托管的使用方法
毕托管,又被称为皮托管,是一种借测量流体总压力与静压力之差值来计算流速的仪器。

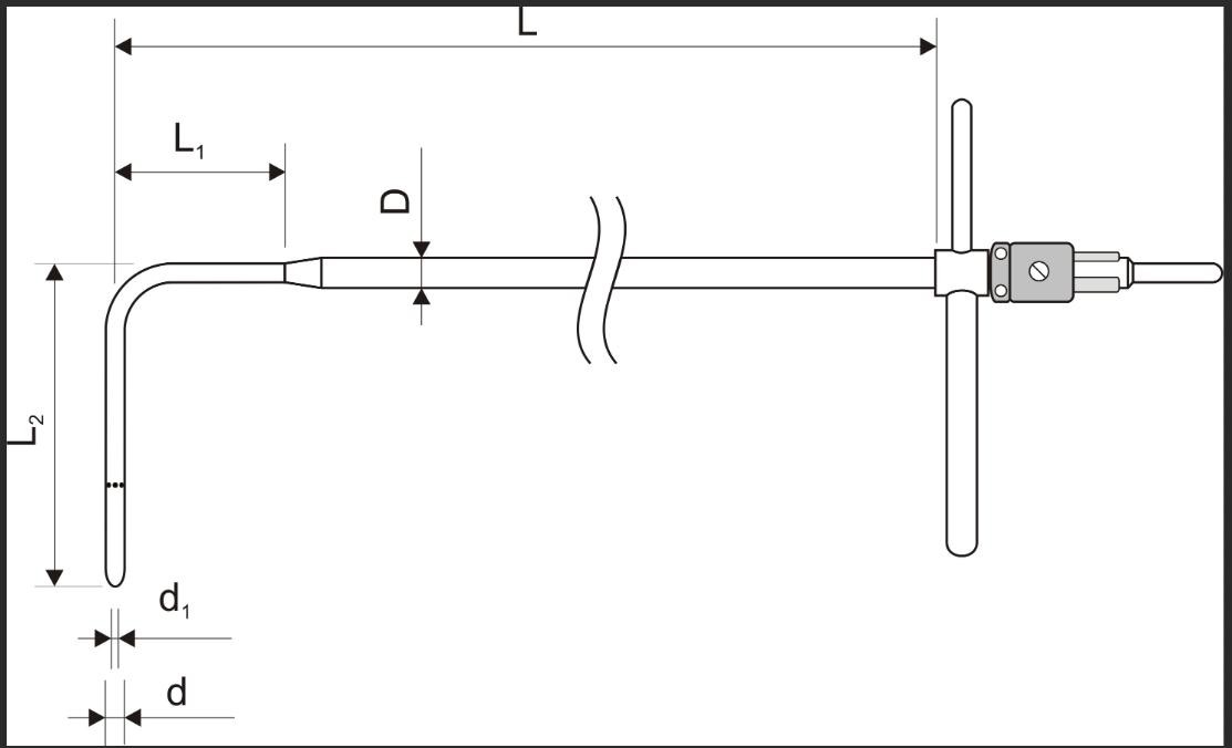
毕托管示意
如上图所示,毕托管有两根不同直径的304不锈钢圆管子同心套接而成,管子内部直通尾端部的接口为全压测试口,外管侧端接口为静压测试口。定向杆与毕托管椭圆头部的方向一致,使用时可以调节测试方向,使毕托管头部始终平行于气流的方向(如下图所示)。

毕托管测试的方法:
1、将压差计按下图的方法连上皮托管上。
2、压差计校零后将毕托管伸入风管中进行测试。
3、测试时应在该截面多取几组数据,求平均值来计算。

动压测试示意图

全压测试示意图

静压测试示意图
相关标签:
-
- 霸王龙以恐龙为食 恐龙时代绝对霸主
-
2026-01-03 20:48:03
-
- 5个最佳英语查词网站
-
2026-01-03 20:45:49
-
- 又到毕业季 盘点那些年无法被超越的高能毕业照
-
2026-01-03 20:43:35
-
- 史上最全的古风发型合集,汉服发型整理篇
-
2026-01-03 20:41:20
-
- 年薪10w是高收入吗?
-
2026-01-03 20:39:06
-
- 碟中谍一简介,他究竟是不是敌人,让我们一起了解
-
2026-01-03 14:46:54
-
- 超好看的宝爸宝妈(情侣)带娃头像
-
2026-01-03 14:44:40
-
- 任达华近日有一组运动的照片曝光,恢复得很不错,期待华哥
-
2026-01-03 14:42:26
-
- 韩国现状,带你看看真实的韩国首尔
-
2026-01-03 14:40:12
-
- 保定平安技工学校,成立于一九九六年
-
2026-01-03 14:37:57
-
- 战力再进化?解析99A主战坦克的“硬核升级”
-
2026-01-03 14:35:43
-
- 一家四口卡通头像
-
2026-01-03 14:33:29
-
- 徐州火车站
-
2026-01-03 14:31:14
-
- 天坛大佛是全球最高户外青铜坐佛,吸引众多中外游客前来朝拜参观
-
2026-01-03 14:29:00
-
- 三角梅的养法
-
2026-01-03 14:26:46
-
- 钱正昊出发前往伯克利音乐学院 将成为王源同学
-
2026-01-03 08:14:33
-
- 洛阳升龙广场
-
2026-01-03 08:12:18
-
- 国内26座最强地级市排名,苏州稳居地级市榜首,无锡领先东莞嘉兴
-
2026-01-03 08:10:04
-
- 动漫壁纸推荐 | 国漫「斗破苍穹」高清壁纸
-
2026-01-03 08:07:50
-
- 超级虐心耽美文推荐八
-
2026-01-03 08:05:36



韩国网友问:中国的领土面积是怎么变得今天这么大的?
全国34个省级行政区名称和来历
四川瓦屋山“迷魂凼”,被称为国内禁地之首,进去的人无一生还
历经100多年!故宫为何会有没开放的冷宫区域?网友:我来解释!
瑞士最大的城市苏黎世
高速车祸现场震撼人心!两起事故车辆严重变形,生命何在?
养什么植物可以净化空气好养又净化空气的植物 好养又净化空气的植物有哪些
盘点全球8个便宜又好玩的旅游胜地 千万别再错过了
兰玉婚纱上海大秀,简直美哭了!
七彩与黑风并存的天下第一洞